
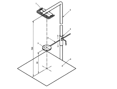
口腔燈陰影測試工裝?
執行標準:
YY/T 1120-2021中7.3.8
技術參數;
圓盤直徑:φ 20mm (厚:1mm)
距離測量屏:50mm
測量屏:帶直角坐標系
光源距屏:700mm
工裝包含柱、調節用滑動環、測試屏、桿
配置清單
工裝一套,合格證一份,銘牌一份。
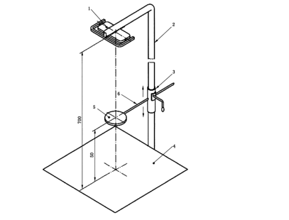
口腔燈陰影測試工裝?
執行標準:
YY/T 1120-2021中7.3.8
技術參數;
圓盤直徑:φ 20mm (厚:1mm)
距離測量屏:50mm
測量屏:帶直角坐標系
光源距屏:700mm
工裝包含柱、調節用滑動環、測試屏、桿
配置清單
工裝一套,合格證一份,銘牌一份。
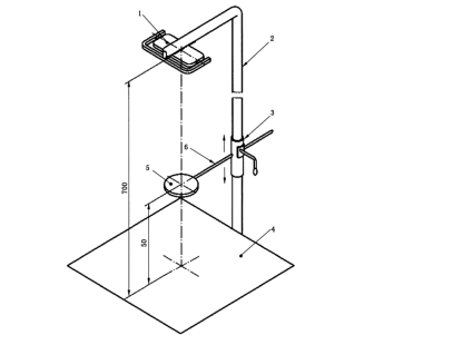
口腔燈陰影測試工裝?
執行標準:
YY/T 1120-2021中7.3.8
技術參數;
圓盤直徑:φ 20mm (厚:1mm)
距離測量屏:50mm
測量屏:帶直角坐標系
光源距屏:700mm
工裝包含柱、調節用滑動環、測試屏、桿
配置清單
工裝一套,合格證一份,銘牌一份。
聯系QQ:2081788225
聯系郵箱:2081788225@qq.com
傳真:
聯系地址:上海市金山區山陽鎮衛清東路2312號4幢4層A568
掃一掃 微信咨詢
©2026 上海徽濤自動化設備有限公司 版權所有 備案號:滬ICP備2020027510號-2 技術支持:環保在線 sitemap.xml 總訪問量:296602 管理登陸